随着人形机器人、电动汽车、储能系统等应用的快速发展,锂电池的需求量显著增加,尤其是人形机器人对电池性能提出更高要求,锂电行业打开了新的增长点。今年2月份以来,锂电池产业链多家企业纷纷宣布扩建产能,反映出市场对锂电池产品需求持续增长的预期。
锂电池的生产加工工艺繁复,加工过程中会产生粉尘或烟雾。AMANO在锂电池产业链中,针对中上游的原材料供应商到下游的电池制造商,都扮演着生产设备配套服务商的重要角色。
AMANO可为锂电生产用户提供气送、除尘、仓顶反投三方面的行业解决方案。
01 气送
三元材料是在锂电池材料技术发展过程中出现的新型正极材料,在市场上具有广阔的前景。三元指的是镍、钴、锰三种元素,在三元材料的生产中涉及多道工序:
※除三元材料以外,AMANO还可提供多种锂电池材料的气送方案
以上每个环节的控制及加工设备的性能都会对最终的锂电池产品产生直接或间接的影响。使用气力输送可助力各工程的顺利实施。
气力输送是利用空气的动压和静压,使物料颗粒悬浮于气流中或成团沿管道输送的方式。使用气力输送,可避免粉末污染,节省材料,能在全程自动化的控制中完成工程,提高工作效率。
正极活性物质气送
工程:活性物质 投料/混合/烧结/粉碎工程
气送方式:高浓度气送/低浓度气送
AMANO输送系统介绍
1 低压喷射气送系统 EAF
利用压缩空气朝向文丘里构造的输送管道进行喷射,在管口形成负压并将料仓里的粉料吸入管道进行输送的系统。EAF结构简单,能耗低,适合短距离小批量的加工工艺。
适用工艺:上料
气送距离:Max 20m
气送能力:Max 1T/h

EAF使用现场

EAF气送系统图
2 低压吸引气送系统 VAF
利用动力源产生的负压使粉体悬浮于管道内,以较低的浓度进行输送的系统。VAF系统适合多个场所向同一个场所集中输送。同时有将输送物冷却、干燥的效果,也适用于狭长幽深的场所。
适用工艺:上料
气送距离:Max 200m
气送能力:Max 100T/h
VAF使用现场
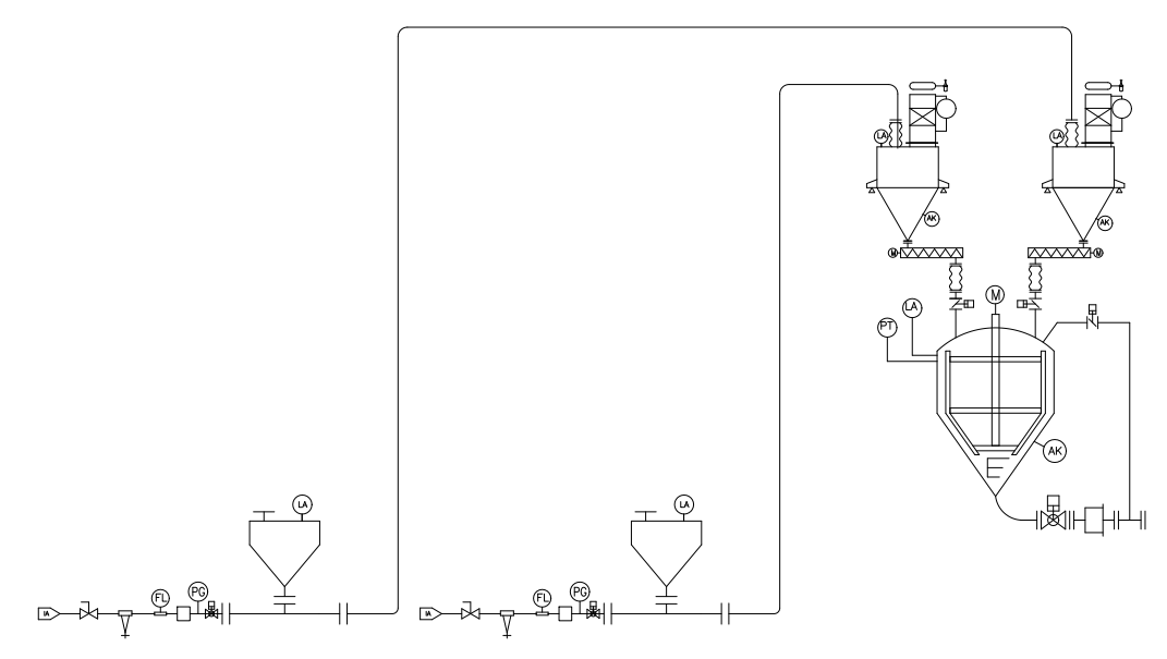
VAF气送系统图
3 高压压送系统 HAF

利用压缩空气的静压,使粉体形成团状并进行脉动输送的系统。HAF系统适合长距离大批量输送,并且由于HAF输送速度低,能保证粉体输送中不产生破碎。
适用工艺:吨包、混料、烧结、粉碎、合批
气送距离:Max 500m
气送能力:Max 200T/h
HAF使用现场 
HAF气送系统图
EAF/HAF/VAF性能对照

AMANO可根据客户所需输送物料的特性(粒径、比重等)、现场工况(输送距离、爬升高度等)、产能要求等,设计最适合客户的气力输送系统。
之后山善还会继续带来锂电行业其他的解决方案,如有任何问题,欢迎咨询山善了解更多,山善携手安满能为锂电行业的发展共同努力!